正文信息列表区域内容请使用tab按钮切换浏览
【公示】石泉路街道2025年社区工作者拟录用名单公示
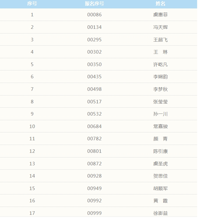
2025年08月26日 来源: 石泉路街道为贯彻落实《中共中央办公厅 国务院办公厅关于加强社区工作者队伍建设的意见》(中办发〔2024〕33号)及《上海市社区工作者管理办法》(沪委办发〔2025〕3号)文件精神,结合石泉路街道社区工作需要,根据《普陀区关于加强居村干部队伍建设的若干措施》要求,综合笔试、面试、体检及考察情况,拟录用以下17人为石泉路街道社区工作者,现将拟录用人员名单公示如下:
2025年石泉路街道社区工作者
拟录用名单

公示期间,如对人选有异议,请向石泉路街道社区工作者事务所反映。
公示时间:8月25日-8月29日
联系电话:021-32502293
联系时间:周一至周五9:00-11:00、14:30-16:30